صمام كروي هوائي مزدوج الاتحاد PVC-C Q661F-10V DN15-100 GB قياسي

صمام كروي بمقبس هوائي عالي الجودة ومتين للغاية، صمام كروي هوائي بلاستيكي عالي الحرارة مناسب للصناعة
الموديل: Q661F-10V
المواد: بلاستيك
الاتصال: نوع الاتحاد
وضع التشغيل: يدوي
الضغط الاسمي: 10 كجم
الممر: مستقيم
الهيكل: صمام كروي محوري
الوظيفة: صمام الالتفافية
درجة الحرارة: درجة حرارة عالية
التطبيقات: الصناعة، صناعة المياه
العلامة التجارية: KXPV
المواصفات: DN15-DN100
الأصل: نينغبو، تشجيانغ

فئة الضغط: 1.0 ميجا باسكال (10 بار)

قائمة حدود درجة حرارة التطبيق

مادة درجة حرارة متوسطة℃ مادة درجة حرارة متوسطة℃
بولي فينيل كلوريد-سي -20℃~ 95℃ بولي فينيل كلوريد-يو -5℃~ 45℃
برنامج الشراكة بين القطاعين العام والخاص -20℃~ 120℃ PPح -20℃~ 110℃
بي في دي إف 40℃~ 150℃

الميزات الهيكلية للمنتج

1. يتم تشكيل صمامات الكرة البلاستيكية الهندسية هذه عن طريق الحقن في قطعة واحدة باستخدام المواد البلاستيكية الحرارية المقاومة للتآكل مثل FRPP وPVدF وPVC-C وPVC-U وPPH، مما يوفر مقاومة قوية للتآكل.
2. مقعد مادة PTFE قابل للتعديل من أجل الضيق.
3. توفر الحلقات الدائرية ذات الطبقة المزدوجة حماية مزدوجة من التسرب.
4. مظهر رائع، سطح أملس، تصنيع دقيق، وتصميم كامل التدفق.
5. يمكن التحكم في المحرك عن بعد عبر جهاز كمبيوتر أو مركز تحكم، والتحكم في تدفق الوسائط عن طريق فتح الصمام وإغلاقه. وهذا يوفر قدرًا أكبر من الراحة والسرعة، ويقلل من تكاليف العمالة، ويضمن سلامة العمال في الموقع.

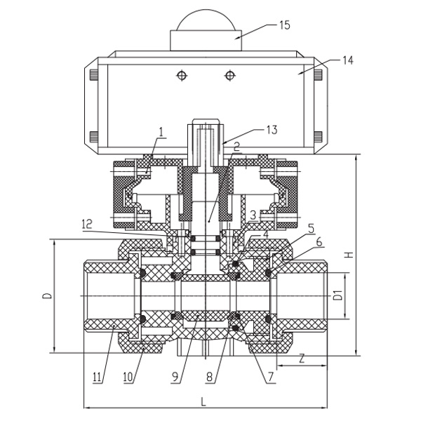
جدول المواد الجزئية

لا. اسم مادة الكمية.
1 قوس المحرك الكهربائي/الهوائي مادة السبائك 1
2 جذع PPح、PVC-C、PVC-U、PVDF、FRPP 1
3 جسم PPح、PVC-C、PVC-U、PVDF、FRPP 2
4 حلقة O لمقعد الختم 1 FPM،EPDM 1
5 ختم المقعد PPح、PVC-C、PVC-U、PVDF、FRPP 1
9 ختم المقعد O-ring 2 FPM،EPDM 2
7 ختم المقعد O-ring 3 FPM،EPDM 2
8 ختم ستين (كرة مختومة) PTFE 2
9 جسم الكرة PPح、PVC-C、PVC-U、PVDF、FRPP 1
10 الاحتفاظ PPح、PVC-C、PVC-U、PVDF、FRPP 2
11 اتحاد PPح、PVC-C、PVC-U、PVDF、FRPP 2
12 جذعO-ring FPM،EPDM 2
13 جذعConnectors مادة السبائك 1
14 محرك هوائي سبائك الألومنيوم 1
15 جهاز ردود الفعل للإشارة 1

قائمة الأبعاد

تخصيص D د ل H ز
15 50 20 110 87.8 20
20 58 25 126 97.5 24
25 70 32 140 106.6 27
32 85 40 160 123.5 30
40 98 50 170 138.5 32
50 127 63 190 163.5 37
65 144 75 230 191 44
80 158 90 280 222.5 51
100 192 110 340 261.5 61
ردود الفعل على الرسائل
من نحن
شركة كايكسين لتقنيات خطوط الأنابيب المحدودة
Founded in 1999, Kaixin Pipeline Technologies Co., Ltd. is a high-tech enterprise integrating R&D, manufacturing, sales, and service. As a famous China صمام كروي هوائي مزدوج الاتحاد PVC-C Q661F-10V DN15-100 GB قياسي Suppliers and صمام كروي هوائي مزدوج الاتحاد PVC-C Q661F-10V DN15-100 GB قياسي Factory, the company holds multiple prestigious certifications, including National High-Tech Enterprise, “Little Giant” Specialized and Sophisticated SME, National Single Product Champion (Cultivation), Provincial Technology-based SME, Ningbo Specialized and Sophisticated SME, Ningbo Single Product Champion (Cultivation), Ningbo Polymer Pipe & Valve Technology R&D Center, District-Level Green Factory, Ningbo Four-Star Management Innovation Enterprise, and Enterprise Data Management Capability Maturity Level 2.
نحن متخصصون في تطوير وإنتاج وتوريد المنتجات غير المعدنية المقاومة للتآكل للتطبيقات الكيميائية، بما في ذلك الصمامات البلاستيكية والأنابيب وتجهيزات الأنابيب والمضخات المقاومة للتآكل. تشتمل مجموعة منتجاتنا على مواد مثل PVC-C، وPVC-U، وPVDF، وPPH، وFRPP، مع مجموعة شاملة من الأنواع والمواصفات. والجدير بالذكر أن صمامات الفراشة لدينا يمكن أن يصل قطرها إلى DN1000، في حين تمتد الأنابيب والتجهيزات حتى DN800، مما يعالج فجوات السوق ويحافظ على ميزتنا التنافسية في الصناعة.
استناداً إلى مبدأ “التشغيل التكنولوجي ومواكبة العصر”، تخصص شركة Kaixin ما يقرب من 10 ملايين يوان صيني سنوياً للبحث والتطوير. نحن نضمن جودة المنتج الفائقة من خلال التصنيع الآلي الموحد والتوريد الصارم للمواد الخام المستوردة. تماشيًا مع استراتيجيتنا التنموية الدولية، نقوم باستمرار بمراقبة اتجاهات السوق العالمية والاستفادة من القنوات الرقمية لتقديم منتجات “مصنوعة في الصين” عالية الجودة للعملاء في جميع أنحاء العالم.
نينغبو • قاعدة فنغهوا للبحث والتطوير والإنتاج
باستثمار إجمالي قدره 200 مليون يوان صيني، أنشأت شركة Kaixin Ultra-Pure Pipe Technology (Ningbo) Co., Ltd. مختبرًا جديدًا للمواد بالتعاون مع الجامعات ومعاهد الأبحاث، وبنت قاعدة تصنيع حديثة، وقامت بتثبيت 8 خطوط إنتاج آلية بالكامل للبلاستيك المعدل و8 خطوط للمواد البوليمرية. المنشأة مخصصة للبحث والتطوير وإنتاج وتطبيق المواد البلاستيكية والبوليمرية المعدلة الجديدة. تلتزم Kaixin أيضًا بجذب أفضل المواهب عبر التخصصات، والقيادة المستمرة لابتكار المنتجات وتطوير العلامات التجارية، بهدف أن تصبح شركة رائدة معترف بها عالميًا في مجال البحث والتطوير وتصنيع صمامات وأنابيب وتجهيزات البوليمر.
شهادة شرف
  • honor
  • honor
  • honor
  • honor
  • honor
  • honor
  • honor
  • honor
  • honor
أخبار